Početna Off 1633 pregleda

BMW je ponovno izmislio vijak. Razbjesnit će 'uradi sam majstore'

FOTO: Autostart/AI fotografija

Mnogi su ideju dočekali s podsmijehom, nazivajući je još jednim pokušajem zaključavanja korisnika u službenu servisnu mrežu

BMW je prijavio patent za nove glave vijaka oblikovane prema vlastitom logotipu, što je već izazvalo burne reakcije među mehaničarima i entuzijastima koji vole sami održavati automobile.

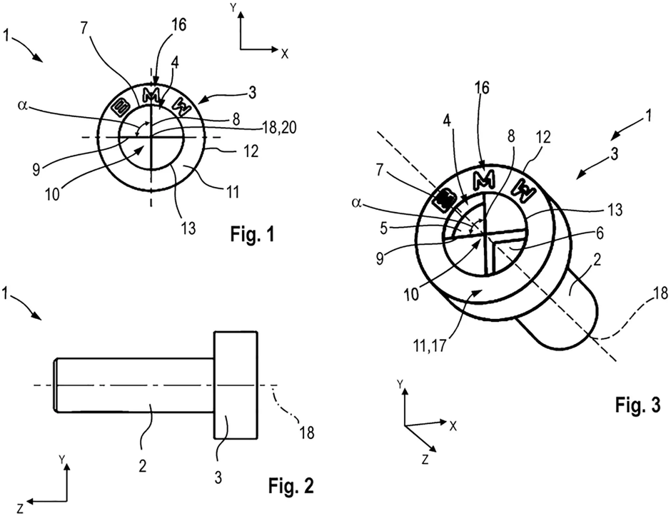
Patentna dokumentacija, objavljena sredinom prosinca, otkriva niz vijaka čije su glave oblikovane poput BMW-ova loga, podijeljene u četiri polja. Dva su polja uvučena, dok su druga dva u ravnini ili blago izdignuta, čime se dobiva oblik koji nije kompatibilan s klasičnim ravnim, križnim ili Torx alatima. Drugim riječima, bez posebno oblikovanog alata, odvrtanje takvog vijka postaje nemoguće.

Author: WIPO foto: WIPO

U patentu su prikazane različite izvedbe glava, od ravnih i poluokruglih do utornih varijanti, no zajednička im je ideja, oblik koji zahtijeva točno određeni alat. Na papiru to može izgledati kao dizajnerski detalj ili način jačanja vizualnog identiteta, posebno na vidljivim dijelovima u kabini ili motornom prostoru. U praksi, međutim, to znači dodatnu prepreku svima koji nisu ovlašteni serviseri.

Reakcije na internetu bile su očekivane. Mnogi su ideju dočekali s podsmijehom, nazivajući je još jednim pokušajem zaključavanja korisnika u službenu servisnu mrežu. Drugi su odmah istaknuli da će aftermarket vrlo brzo ponuditi kompatibilne alate, vjerojatno i prije nego što takvi vijci uopće završe na serijskim automobilima. 

Author: WIPO foto: WIPO

Važno je naglasiti da prijava patenta ne znači nužno i serijsku primjenu. Automobilski proizvođači godišnje prijavljuju stotine ideja koje nikada ne napuste fazu crteža. Ovaj je patent prijavljen u lipnju 2024., a javno objavljen tek krajem 2025., što ostavlja dovoljno prostora da cijela priča ostane samo tehnička zanimljivost.
 

Komentari 0

Komentiraj, znaš da želiš!

Za komentiranje je potrebno prijaviti se. Nemaš korisnički račun? Registracija je brza i jednostavna, registriraj se i uključi u raspravu.