Početna Tech 7370 pregleda

Zastarjela tehnologija ili nova prilika: Vraća li se dvotaktni motor?

FOTO: Wartburg

Mazda, General Motors i američki start-up Alpha-Otto Technologies rade na modernim interpretacijama dvotaktnog principa, i to s ozbiljnim ambicijama

Dvotaktni motori danas u automobilskoj industriji djeluju kao relikt prošlih vremena. Od Trabanta i Wartburga preko motocikala i kosilica, ovi motori su se uglavnom povezivali s dimom, bukom, smradom i zagađenjem. Ipak, posljednjih mjeseci upravo se ta gotovo zaboravljena tehnologija ponovno pojavljuje u patentnim prijavama i razvojnim laboratorijima velikih igrača. Mazda, General Motors i američki start-up Alpha-Otto Technologies rade na modernim interpretacijama dvotaktnog principa, i to s ozbiljnim ambicijama.

Razlog interesa leži u osnovnim prednostima dvotaktnog motora. Konstrukcijski je jednostavniji od četverotaktnog, ima manje pokretnih dijelova i u klasičnom obliku uopće nema ventile. To znači niže troškove proizvodnje, manju masu i kompaktnije dimenzije. Uz to, dvotaktni motor ostvaruje radni takt pri svakom okretaju radilice, što mu omogućuje veću snagu iz iste zapremnine. U teoriji, riječ je o učinkovitom i mehanički elegantnom rješenju, osobito u vremenu kada proizvođači traže načine za smanjenje troškova i složenosti pogonskih sklopova.

Način rada dvotaktnog motora ključan je za razumijevanje i njegovih prednosti i mana. Umjesto ventilima, usisni i ispušni kanali otvaraju se i zatvaraju položajem klipa. Smjesa se usisava i sabija tijekom kretanja klipa, a izgaranje se odvija pri svakom okretaju. Upravo ta jednostavnost donosi visoku specifičnu snagu, ali istodobno uzrokuje i najveće probleme.

Najveći nedostatak dvotaktnog motora tradicionalno su potrošnja i emisije. Zbog preklapanja usisa i ispuha dio goriva završava neizgoren u ispušnom sustavu, što rezultira karakterističnim plavičastim dimom i lošim ekološkim vrijednostima. Dodatni problem je podmazivanje, jer se kod klasičnih dvotaktnih motora ulje miješa s gorivom i također sagorijeva. Buka i grublji rad dodatno su ih udaljili od modernih osobnih automobila.

Author: Mazda foto: Mazda Mazdin patent dvotaktnog motora

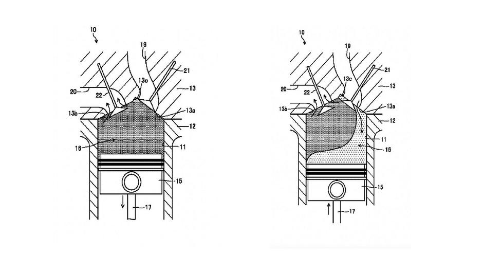
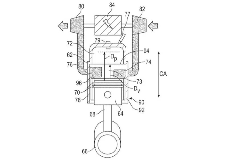
Upravo tu na scenu stupaju nove ideje. Moderna rješenja, poput GM-ovih patenata ili Alpha-Otto prototipa, koriste ventile, brtve i napredne sustave ubrizgavanja kako bi se spriječio gubitak goriva i smanjile emisije. Time se pokušava zadržati temeljna prednost dvotaktnog principa, uz uklanjanje njegovih najvećih slabosti. Još nije jasno hoće li takvi motori zadovoljiti buduće emisijske norme, ali tehnički potencijal postoji.

Author: General Motors foto: General Motors GM-ov patent dvotaknog motora Author: Wartburg foto: Wartburg Dvotaktni motor Wartburga

Dvotaktni motor vjerojatno nikada više neće biti masovno rješenje, no kao nišna tehnologija ili dio hibridnih sustava mogao bi doživjeti neočekivani povratak. Ako nove interpretacije uspiju spojiti jednostavnost, snagu i prihvatljive emisije, dvotaktni motor više neće biti samo simbol prošlosti, već i zanimljiv kandidat za budućnost klasičnih motora.
 

Komentari 0

Komentiraj, znaš da želiš!

Za komentiranje je potrebno prijaviti se. Nemaš korisnički račun? Registracija je brza i jednostavna, registriraj se i uključi u raspravu.